找回密码
 注册
查看: 6304|回复: 34

搅拌槽网格划分

[复制链接]
发表于 2011-10-9 21:24:01 | 显示全部楼层 |阅读模式

马上注册,结交更多好友,享用更多功能,让你轻松玩转社区。

您需要 登录 才可以下载或查看,没有账号?注册

x
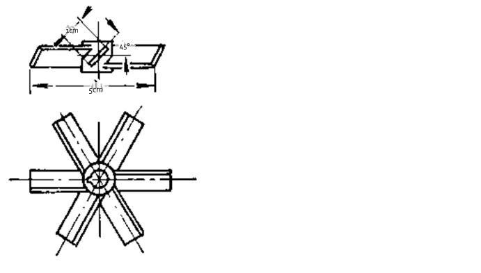
各位,这个搅拌槽总算有了个雏形!
接下来要划分网格,这个搅拌槽内有六片45度折叶开启涡轮,一根通气管路(右侧那根细管),通气管路在搅拌桨下面。槽内壁没有挡板。体系内有微生物,矿石颗粒和培养基。
请问在搅拌开启和正常通气情况下,应该如何划分网格?
当中的圆柱体是我想用来划分搅拌桨区域和非搅拌桨区域,这样做是否有必要? 搅拌槽模型.png

[ 本帖最后由 zodijac 于 2011-10-9 21:25 编辑 ]
搅拌槽shaded.png
 楼主| 发表于 2011-10-10 14:18:01 | 显示全部楼层
哪位高手能指点下呢?谢谢哈!
发表于 2011-10-10 14:20:30 | 显示全部楼层
是做酒粮的咩
 楼主| 发表于 2011-10-10 21:06:45 | 显示全部楼层
呵呵 这个主意不错,等把这个反应器设计好了,就去开发做酒酿的,请你哦!
 楼主| 发表于 2011-10-11 11:33:21 | 显示全部楼层
哪位高手能指点下,万分感谢啦!
 楼主| 发表于 2011-10-12 19:46:38 | 显示全部楼层
请教下那个关于网格质量的表格怎么弄出来的,如下图

[ 本帖最后由 zodijac 于 2011-10-13 12:41 编辑 ]
20110701_7b2f816cee0b24854bbdMiI2I7JZ2Yk0.jpg
 楼主| 发表于 2011-10-14 22:37:57 | 显示全部楼层

搅拌槽模型图

谁能指点下?谢谢!

[ 本帖最后由 zodijac 于 2011-10-18 23:00 编辑 ]
搅拌桨.png
搅拌槽新图形.png
 楼主| 发表于 2011-10-24 13:54:36 | 显示全部楼层
还请各位不吝啬赐教!
发表于 2011-10-24 14:33:14 | 显示全部楼层

回复 8# zodijac 的帖子

我不用gambit。。。偶用hyper
 楼主| 发表于 2011-10-26 22:19:22 | 显示全部楼层
9楼的回复虽然无助,但总算有人回应了!呵呵!
 楼主| 发表于 2011-12-10 22:55:25 | 显示全部楼层
请高手看下网格质量,谢谢!

[ 本帖最后由 zodijac 于 2011-12-10 23:07 编辑 ]
CSTR_mesh-1 (2).jpg
发表于 2011-12-11 08:36:26 | 显示全部楼层

回复 11# zodijac 的帖子

楼上网格貌似比较多 但是疏密不合理 估计很难算一个较好的结果 甚至一算就发散
发表于 2011-12-11 11:41:30 | 显示全部楼层
不知道你是用什么软件画的网格?gambit?
如果你打算采用mfr的方法计算转动的话,可以考虑采取分区画网格。他们的交界设置为交界面。
另外,气体通入的部分,也需要设置好边界。
你打算采用什么方法模拟其发酵过程?化学反应?还是仅仅冷态模拟?
 楼主| 发表于 2011-12-11 13:34:22 | 显示全部楼层
回复12,13楼
网格采用gambit画的,方法是根据《fluent入门与进阶教程》第8章的一个例子做的,可能中间有不对的地方,还请指点。
目前考虑用滑移网格方法计算转动,当然网格划分上还是采取内部区域和周期区域分开做的,但在交界面上由于现在的用一个圆柱体分隔的,所以其侧面就是两个计算区域的交界面了,例子是二维的,自己的这个不知道该怎么选?
希望能模拟出发酵过程反应器内剪切,温度和气体的分布,13楼提到的模拟方法不太明白,能介绍下么?
谢谢啦
发表于 2011-12-11 14:17:18 | 显示全部楼层

回复 14# zodijac 的帖子

QQ: 2284170287
您需要登录后才可以回帖 登录 | 注册

本版积分规则

快速回复 返回顶部 返回列表