找回密码
 注册
查看: 6310|回复: 29

这样的结构能提水吗?

[复制链接]
发表于 2010-3-1 21:29:58 | 显示全部楼层 |阅读模式

马上注册,结交更多好友,享用更多功能,让你轻松玩转社区。

您需要 登录 才可以下载或查看,没有账号?注册

x
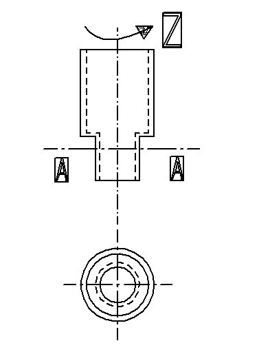
这样的一段管子,A-A面是浸入水中的,管子是旋转的(绕Z轴),能把水提上去吗?原理是什么呢?能提多高呢?如果在细管处加一个叶片随管子一起旋转(做成离心的或者轴流的结构)能让水提得更高吗?,如果不能有没有什么结构能让水提得更高呢?
    婆婆妈妈的问题很多,麻烦各位大虾了。
未命名.jpg
发表于 2010-3-1 22:31:11 | 显示全部楼层
想办法制造压差就能送上去更高了
发表于 2010-3-2 01:21:01 | 显示全部楼层
理论上讲是有可能的

通流出来从势流的角度给大家分析一番
发表于 2010-3-2 05:36:07 | 显示全部楼层
势流?这也太高深了吧。我来点简单的吧。
如果要把水往上提,那么装置对水的作用力就是向上,而水对结构的作用力是向下(牛顿第三定律)。
如果只是个直管,那么所有的力都是水平方向的。因此,是不能把水提起来的。虽然由于旋转,管中的液面是个曲面。平均高度应该是零。
但现在管子有个台阶,这时管子就有可能承受向下的力。如果AA处的水的曲面能够达到这个台阶,那么在这个台阶上的水面又形成一个曲面,把水进一步抬高。如果有更多的台阶,水就能被抽上来。
按照这个分析,更合理的形状是一个锥形的装置。通过旋转,能够把水吸上来(其实就是甩出来)。

我这里没有分析效率。有没有人愿意试试。
如果要优化效率,这个锥形曲面的最佳角度是什么?

[ 本帖最后由 通流 于 2010-3-2 05:41 编辑 ]
发表于 2010-3-2 05:39:31 | 显示全部楼层
如果在管中(AA面以下)有叶片,那就是个轴流泵。当然能把水抽上来。这个大家可以看标准的水泵的设计书和教材。
 楼主| 发表于 2010-3-2 07:51:31 | 显示全部楼层

回复 5# 通流 的帖子

谢谢大家的回答,尤其是这么早就起床的人 “ 2010-3-2 05:36 ” 如果上面的粗管足够长,做成轴流泵是能增加提水的高度吗?
发表于 2010-3-2 09:29:20 | 显示全部楼层
每个泵都有一个最高可达到的高度。
 楼主| 发表于 2010-3-2 11:43:37 | 显示全部楼层

回复 7# 通流 的帖子

其实我对流体力学了解不是很多,我知道这种管子是利用离心力的原理,但是如果是轴流泵不知道是什么原理,而且网上都说轴流泵的扬程一般比离心泵的低,难道加装叶片还会使扬程降低吗?
   感谢通流版主。
发表于 2010-3-2 20:17:30 | 显示全部楼层

回复 8# GEEK1204 的帖子

离心泵和轴流泵都有叶片。如果是单级的话,一般离心泵能够达到较大的扬程。但轴流泵很容易做成多级的。也应该能有大的扬程。
发表于 2010-3-2 20:57:22 | 显示全部楼层
老兄,我给你打个形象的比方,就可以看出轴流和离心的优缺点了。
离心式如同向墙体中打入销子,克服的是摩擦力,同样的功率下,当然能打入的就多。
轴流式如同把墙体垂直拿起,再增加砖块,克服的是重力,同样的功率下,它必须把前面所有的砖块都拿起来,才能增加。
发表于 2010-3-2 22:03:32 | 显示全部楼层
这样的比方虽然形象,但不正确。不克服重力就没法抬高水位。
 楼主| 发表于 2010-3-3 11:37:54 | 显示全部楼层

回复 10# 梅羡仙 的帖子

谢谢
发表于 2010-3-3 11:49:32 | 显示全部楼层

回复 8# GEEK1204 的帖子

看样子还得再写点。没有叶片的管子,不管转速多快,是不能当水泵用的,就算能抽起一点水,效率也会极低(可能也就比零大)。
有叶片的才是泵。虽然单级轴流泵扬程低,多级不就可以了吗?轴流泵的流量比离心泵大很多。两者的效率则差不多(可能轴流泵稍高一些)。两者之间没有好坏之分,只有用处不同。
发表于 2010-3-3 12:03:15 | 显示全部楼层


老兄,我说了的一个是象销子似的水平打入,一个是垂直提升,你想象一下就应该知道它们分别是怎么抬升物体的。一个人面对一吨的重物,用销子仍然可以从底部嵌入,嵌入后高度同样增高,但垂直提升一吨重物后再嵌入,那就不可想象了。
另外通流老兄,你认为离心似叶片也是叶片的一种,但楼主可能是没有把离心式叶片当成叶片而已。毕竟通常大家都觉得只有象电风扇叶片那种才能叫叶片。

[ 本帖最后由 梅羡仙 于 2010-3-3 04:06 编辑 ]
发表于 2010-3-3 13:15:28 | 显示全部楼层

回复 14# 梅羡仙 的帖子

如果LZ不知道离心泵也有叶片的话,那现在就应该知道了。本来这个论坛就是有点普及的性质。以前不知道,现在知道也不晚。

你的想象力如果超出了牛顿定律和热力学定律,我就无能为力甘拜下风了。
您需要登录后才可以回帖 登录 | 注册

本版积分规则

快速回复 返回顶部 返回列表